Skylanders. Disney Infinity. Amiibo. The upcoming LEGO Dimensions. Near-field communication (NFC) is big right now, and it appears Microsoft may want a piece of the action.
TechInsider is reporting that Microsoft has recently filed a patent for their own version of an NFC reader.
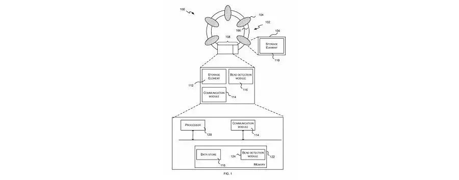
Microsoft’s device appears to be an accessory consisting of a connecting element and two or more re-arrangeable smart beads, each of which has its own ID and data storage. You can see an image of the device above.
We’ll see if this makes its way to Windows PC or Xbox as some sort of gaming feature.
This article may contain affiliate links, meaning we could earn a small commission if you click-through and make a purchase. Stevivor is an independent outlet and our journalism is in no way influenced by any advertiser or commercial initiative.


